You know how sometimes while researching you go through all types of distractions?
Well, that’s what happened while researching the family of Austin E. Bowe. We were all over the place researching, going down one lane then all of a sudden getting off track with no obvious explanation. What should have only taken several days took us several weeks. 😆
So without further ado, here is what we know about Austin’s family.
Austin8 (Obadiah7, Obadiah6, Amos5, Amos4, Samuel3, Samuel2, Alexander1) Bowe was born on December 16th, 1832 in Middletown, Middlesex County, Connecticut to Obadiah and Nancy (Skinner) Bowe. Austin is the fourth of eight known children of Obadiah & Nancy: Allen H., Almira J., Augustus, Austin E., Charles H., Obadiah, Jared, and Irvin. Obadiah died in 1839 at the age of 35 leaving Nancy with 6 young children ranging in age from 4 months to 11 years old. Nancy remarried on January 15th, 1845 to the widower David B. Miller. David and Nancy had at least one child. David died in 1881 at the age of 76 and Nancy was 86 when she died on November 19th, 1893.
Austin married a Middletown girl, Hannah Chamberlain, in 1856. Hannah is the fourth of six children (Harriet, Collins, Elijah, Hannah, Edward, and Eber) born to Collins & Hannah (Whitmore) Chamberlain. Collins Chamberlain’s father, Capt. Elijah Chamberlain, died in 1807 at the young age of 32. From Elijah’s estate inventory, it appears Elijah was a military captain, not a sea captain, although no supporting regimental documents have been identified. Collins’s mother Mercy Roberts (sometimes Mary) remarried to Stephen Parschale. Hannah (Whitmore) Chamberlain’s parents are Noadiah Whitmore and Persis (Hubbard) Arnold Whitmore Savage.
We hesitate to add the following biography due to multiple errors however it does provide some accurate information:
Austin and Hannah resided in Meriden, New Haven County, Connecticut following their marriage. They moved to Middlefield in 1865 for three years before returning to Meriden to raise their family. Austin was a livery keeper, horse breeder, and carriage maker in Meriden.
Hannah was deeply involved in the business too (see her will for additional details), but remained out of public view most probably for propriety’s sake. Austin and Hannah had five children: Wallace, Charles, Edward, Albert, and an infant boy.
The children all received their education at Center School on Broad Street.
The family occasionally appeared in newspaper articles like this one from May 19th, 1887:
Hannah (Chamberlain) Bowe’s mother, Hannah (Whitmore) Chamberlain, died on January 7th, 1888; two days later her death was announced in the Meriden newspaper:
On a cold morning in early January 1898, the 4th to be exact, one of Austin’s residential properties caught fire:
Austin suffered several strokes in the early 1890s which greatly affected his physical abilities and outlook on growing old. He desperately sought medical assistance to end his life. When his doctor refused and an opportunity finally arose, Austin took his own life in the early hours of May 27th, 1899.
Two days later, after a speedy inquest, Austin was buried in West Cemetery:
The property at 231 West Main Street today still has a home and automotive shop on it. We believe the home was razed and rebuilt (although it’s possible it is original and suffered atrocious remodeling over the years).
Hannah moved from their West Main Street home to Broad Street after Austin’s death. The newspaper ran an article on June 15th, 1906 which featured several longtime female residents of Meriden:
The next year a 74th birthday notice for Hannah was published on March 21st:
Hannah passed away due to complications following surgery just four days before her 75th birthday:
Hannah was buried beside Austin in West Cemetery.
The five children of Austin E. and Hannah W. (Chamberlain) Bowe are as follows:
1. Wallace F. Bowe was born November 25, 1857 in Meriden. On December 5th, 1894 he married Lucy I. Andrews who was 15 years his junior. Wallace was an alderman for many years.
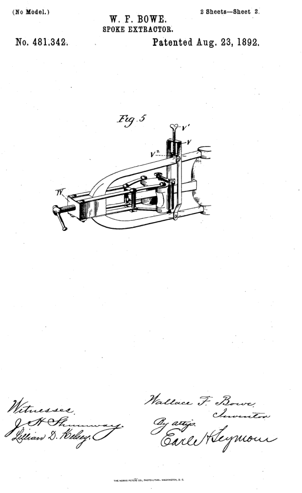
Wallace applied for and received a patent for his Bowe Spoke Extractor invention.
His invention was highlighted in The Iron Age, Vol 46, page 115.
The Blacksmith and Wheelwright shows an ad for Wallace’s invention:
On April 17th, 1897 the following biography appeared in the Meriden newspaper:
Wallace had the foresight to evolve the A. Bowe and Son company to include selling and repairing cars. He was one of only two Meriden households to own an automobile in 1900.
On September 7th, 1904 the following article appeared in the news:
Perhaps the article was for society news but it perhaps doubled as a free advertisement for his automobile business.
Wallace died on July 3rd, 1926 leaving his childless wife and brother as his only heirs.
Lucy remarried in Meriden on December 17th, 1935 to William Forbes with Edward Bowe attending the ceremony. William and Lucy had no children.
2. Charles Henry Bowe was born on November 26th, 1860 in Meriden. He managed a yeast factory before setting out, with the assistance of his parents, to form the Crystal Spring Soda Works. On February 16th, 1884 the following snippet appeared in the paper:
Here is one of the earliest advertisements for Charles’s soda company:

Charles married Hulda Brown in Meriden on January 8th, 1885. They had no children.
On March 25th, 1893 Charles had a brush with death and the locals made a cute little quip about his body weight:
In November of 1898 Charles made a trip to New York City where he was routinely mistaken for General Shafter (the commander of a Rough Rider unit during the Spanish-American War). An account of this trip was printed in the Meriden paper:
This July 1900 advert shows Charles would not have made a successful poet:
Hulda left Charles and moved to Branford, Connecticut as seen in this newspaper blurb from May 2nd, 1903:
At the end of September 1904 this notice appeared in the paper:
Charles died on October 8th, 1904 at his brother’s home just a few days after suffering a paralytic stroke. Obviously the divorce suit was subsequently dropped. There is no indication Hulda challenged her mother- and brother-in-law over Charles’s estate. What became of Hulda is unknown. Charles is buried with his parents in West Cemetery.
3. Edward Austin Bowe was born on November 14th, 1862 in Meriden. After completing his schooling he worked in Massachusetts and Pennsylvania for a time. He appears to have had a wanderlust spirit as he frequently traveled when he was between jobs. Edward eventually made his way back to Meriden to become the accountant for A. Bowe and Son. On January 29th of 1890 he married Harriet Molloy (sometimes Malloy) in Meriden.
He and Hattie had no children during their 38 year marriage. Edward, like his elder brother Wallace, was a man with an oversized physique. He also seems to have been the gambling sort as this article from November 14th, 1892 indicates:
As with Wallace, Edward was featured in the April 17th, 1897 Meriden newspaper issue:
In 1908 Edward, with his sharp business acumen, submitted the following photograph and article to the newspaper.
Edward was the last of Austin and Hannah’s children to pass away. He died at home in Meriden on November 17th, 1928.
Edward, like his parents, was buried in West cemetery. Hattie never remarried. On May 20th, 1960 she was featured in Meriden’s newspaper:
Hattie died on April 17th, 1961 in Meriden at the grand age of 92 (one month shy of her 93rd birthday).
4. Albert Ellis Bowe was born in Meriden on June 26th, 1870. He had a little accident when he was 17 years old.
In Meriden on April 29th, 1891 he married Nettie Bishop who was a nurse and the daughter of Henry and Jane (Cameron) Bishop of Southington, Connecticut. They had no children.
Albert must’ve been a very ill young man as these articles from the early 1890s attest to:
Albert died on October 15th, 1895 in Meriden.
Albert is buried alongside his parents. Nettie moved back to her parent’s home in Southington and what became of her is unknown.
5. An infant boy died on March 17th, 1876 at age three weeks.
Austin and Hannah had no grandchildren thus ending the Austin E. Bowe family of Meriden, Connecticut.

















































